
You can find out more Diagram below
Acadia Trailer Wiring Harness Sezeriya Com
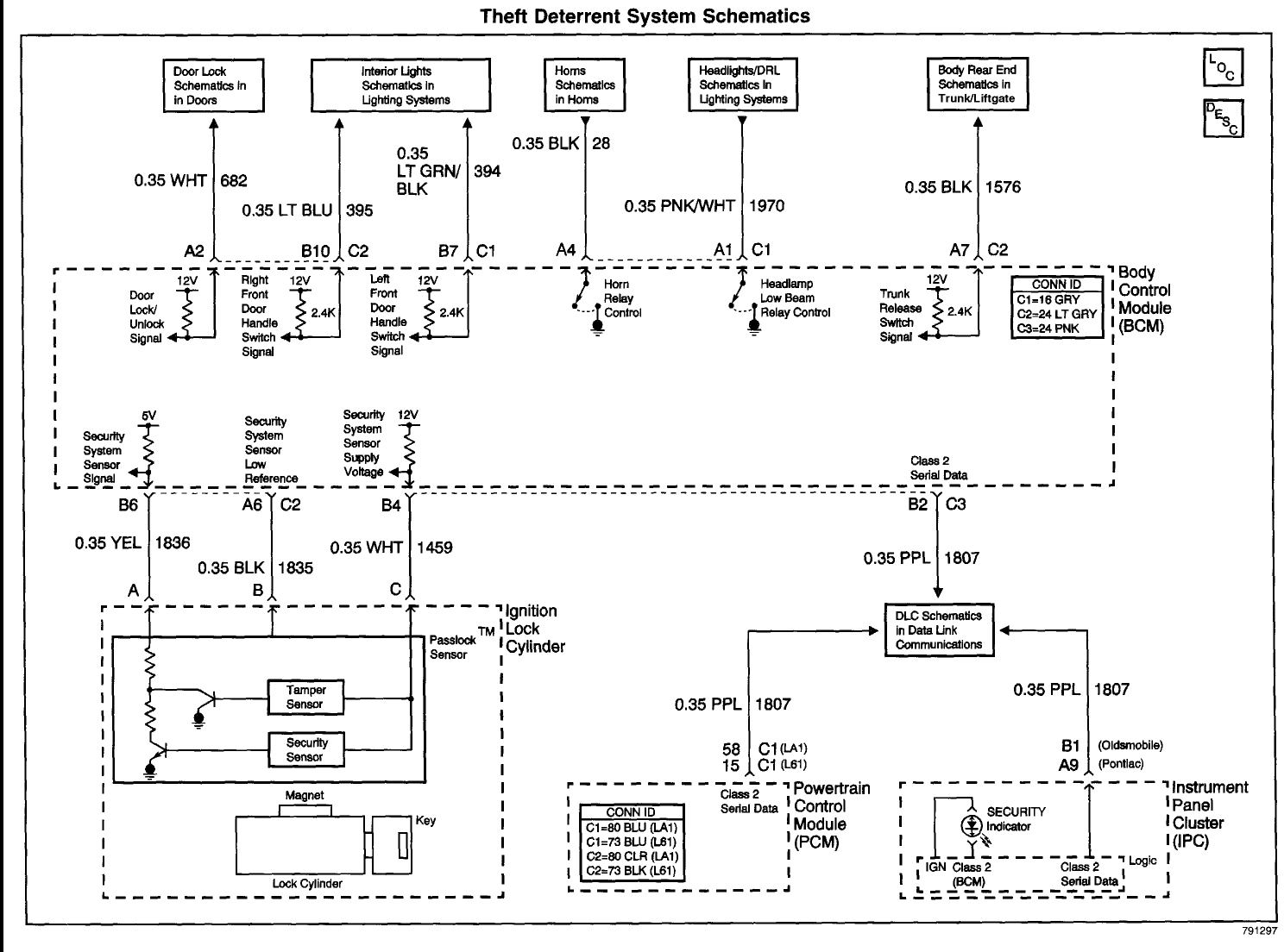
Wrg 6653 Gm Bcm Wiring Diagram
Chevy Brake Controller Install No Tow Package
Robin Diesel Engine Fuel Filter 2003 Ford Explorer Trailer
Connect Your Car Lights To Your Trailer Lights The Easy Way
Trailer Wiring Information
2019 Chevy Silverado 1500 Towing And Trailering Packages
Wrg 9599 Gm Trailer Hitch Wiring Diagram
Trailer Hitch 7 Pin Wiring Diagram Round Diagrams Converter
How To Replace Trailer Hitch Plug 00 14 Chevy Suburban 1500
Troubleshooting 4 And 5 Way Wiring Installations Etrailer Com
Stock Trailer Wiring Diagram Need An F150 Trailer Towing
Hei Ignition Module Wiring Diagram Gm Distributor And Coil
2014 Silverado Sierra Release 5 3l Mpg Power Payload And
7 Way Trailer Plug Wiring Diagram Ford Famous Tow Vehicle
0 comments:
Post a Comment